Yükleniyor...

Yükleniyor...

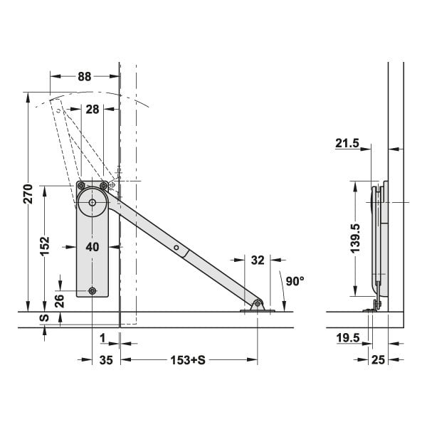
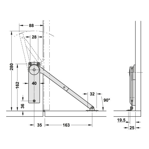
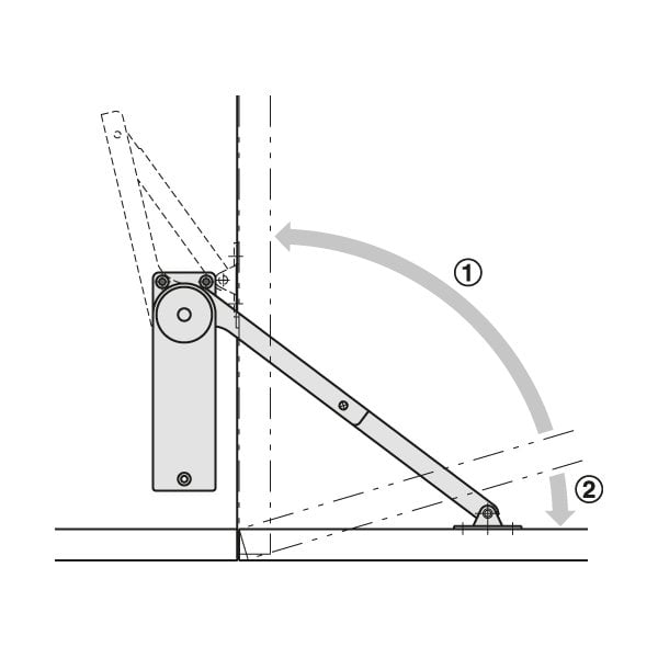
Hafele Doxı Düşer Kapak Makası Sağ 10,8-15,7N - Düşer-Kalkar Makas | HAFELE | Asa Yapı