Yükleniyor...

Yükleniyor...

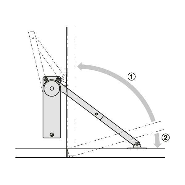
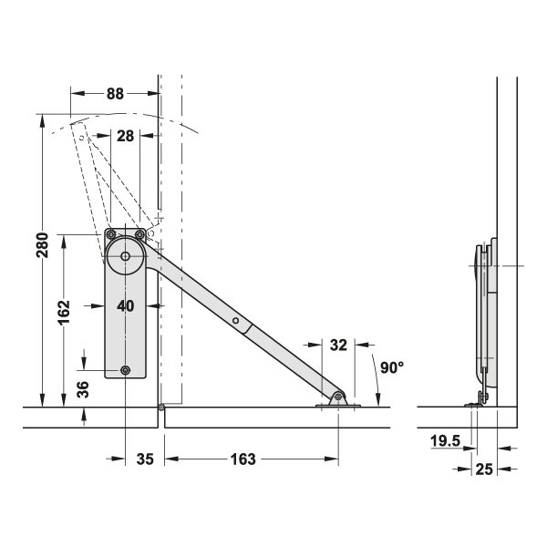
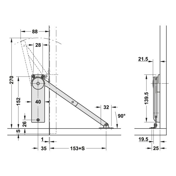
Hafele Doxı Düşer Kapak Makası Sol 5,9- 9,3N - Düşer-Kalkar Makas | HAFELE | Asa Yapı