Yükleniyor...

Yükleniyor...

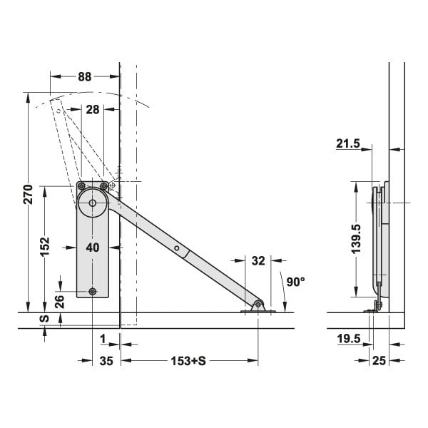
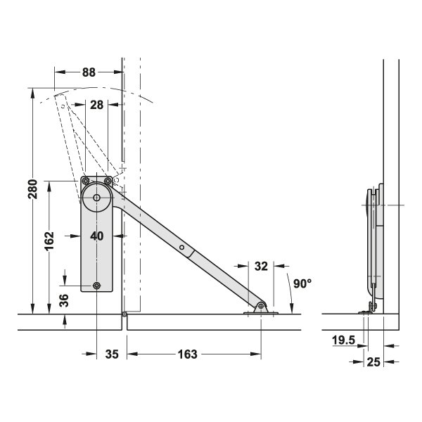
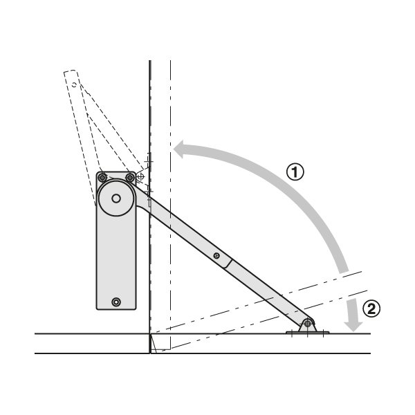
Hafele Doxı Düşer Kapak Makası Sol 9,3-12,7N - Düşer-Kalkar Makas | HAFELE | Asa Yapı